Главная
»
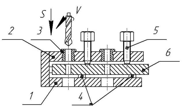
Кондукторная плита
Протокол_ТКМ_№72