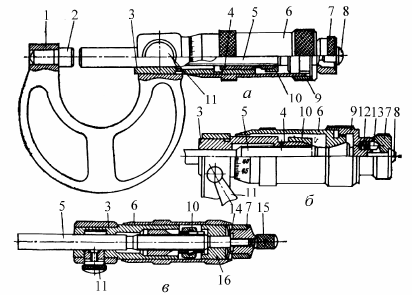
Лабораторная работа №2. Микрометрические инструменты. Микрометр гладкий

Лабораторная работа №2. Микрометрические инструменты. Микрометр гладкий