Пускатель ПМЛ-1220Д О*2А 16А 380В (AC) 1НО с те...
Устройство, характеристики и различия контактор...
Схемы управления пускателем: на 220В, 380В, с т...
Подключение контактора через реле
Условия выбора магнитного пускателя кратко
Реверсивная схема подключения магнитного пускателя
Схема подключения пускателя через реле
КМИ 11260 12А пускатель в корпусе IP54 с теплов...
Схема подключения магнитного пускателя от контр...
магнитный пускатель сименс 3tf46 45А в сборе с ...
Пускатель с тепловым реле - Всё об электрике в ...
Электрические схемы пускателей для двигателя
Схема пускателя с тепловым реле: на 220В, 380В,...
Магнитный пускатель в корпусе с тепловым реле T...
Как управлять двигателем с тепловым реле
Как подключить магнитный пускатель с тепловым р...
Тепловое реле насоса принцип работы
Как подключить пускатель с тепловым реле с кноп...
Подключение кнопок к контактору с тепловым реле
Схема подключения 3х фазного двигателя на 380 ч...
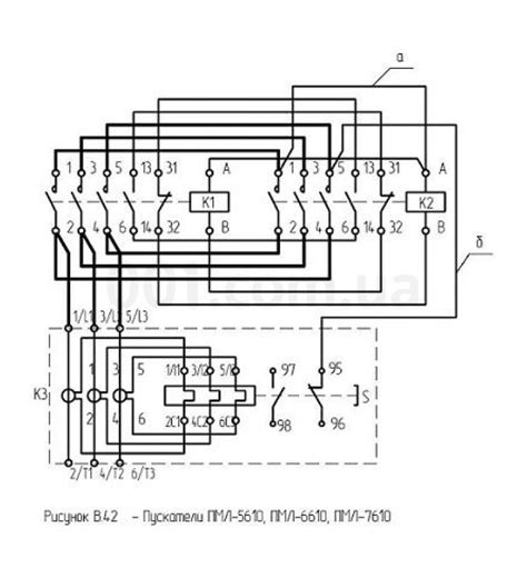
Реверсивные пускатели – Пускатель реверсивный с...
Схема подключения магнитного пускателя с теплов...
Пускатель реверсивный ПМЛ-3611Д О*2Б 40А 380В (...
Магнитный пускатель с тепловым реле и кнопками ...
Схема пуска электродвигателя 380 В через магнит...
Как подключить пускатель через кнопку и теплово...
Пускатель реверсивный ПМЛ-5611 О*2В 125А 220В (...
Схема подключения пускателя с тепловым реле
Автомат, пускатель и тепловое реле для двигател...
ПМЛ 1230Д пускатель на 16А с реле, в корпусе с ...