Плашка К 3/8 (18 ниток /дюйм) купить в Казани ц...
Параметры резьбы
Коническая резьба: размеры по ГОСТ, обозначение...
Метчик трубная резьба HSS NPT 3/8"-18 ниток/дюй...
Метрическая наружная коническая резьба DIN 158
Презентация на тему: "Резьба коническая дюймова...
Резьба. Разъемные соединения | Калибры резьбовы...
Плашка резьба дюймовая UNF 9/16-18 ниток 9ХС ку...
Стандарты дюймовой резьбы таблица фото - PwCalc.ru
Резьба трубная коническая
Резьба коническая дюймовая с углом профиля 600 ...
Размеры дюймовой конической резьбы
Метчик резьба дюймовая UNC 1/4-18 ниток Р6М5ф3 ...
2 шт. Метчик резьба дюймовая 1/4-18 Р9К5 купить...
Таблица дюймовых резьб. Классификация
Нарезка резьб: дюймовая, трапеция, на винтах, в...
Плашка коническая К 1/4 (18 ниток/дюйм) купить ...
Плашка Коническая дюймовая К 3/8 "(NPT), 18 нит...
Плашка TLX коническая дюймовая К 1/4"NPT, 18 ни...
резьба 19 ниток на дюйм - YouTube
Резьба трубная коническая по ГОСТ - Энциклопеди...
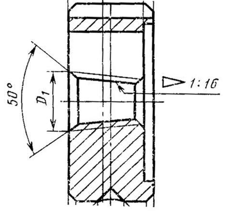
Трубная коническая резьба - Инженерная графика
КОНИЧЕСКАЯ РЕЗЬБА БРИГГСА | Эпонимы и Мы | Дзен
Метчик резьба коническая дюймовая UNC 3/4-10 ни...
Плашка TLX коническая дюймовая К 3/8"NPT, 18 ни...
Резьба коническая дюймовая 144, 145 — Основные ...
Коническая резьба, без конусной линейки - YouTube
Метчик резьба дюймовая UNC 8E -353 -18 ниток Р6...
Коническая резьба – купить в Москве в интернет-...
Плашка коническая К 1/4'' (NPT) 18 ниток/дюйм -...
Трубная резьба коническая, дюймовая, цилиндриче...