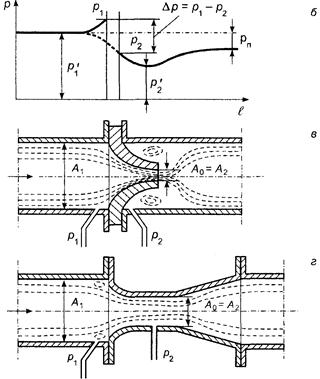
Измерительный преобразователь перепада давления для измерения расхода ...

Измерительный преобразователь перепада давления для измерения расхода ...