YouTube | Metal bending tools, Sheet metal tool...
Самодельный ручной листогиб своими руками черте...
Sheet metal storage
Пин на доске Автоматизированные склады листовог...
Урок 3 листовой металл - YouTube
Процесс изготовления листового металла - Зилант...
Листогиб своими руками: инструкция, устройство ...
Самодельный листогиб. Листогибочный станок свои...
Изготовление листового металла: 4 этапа
Архивы ЛИСТОВОЙ МАТЕРИАЛ - Домашний мастер
#сегментный #листогибстанок Листогиб для кровел...
Металлообработка листового металла
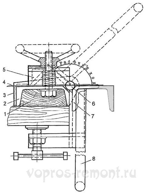
ЛИСТОГИБ | МОДЕЛИСТ-КОНСТРУКТОР
Листогиб своїми руками: елементи, пристрій і кр...
«Проектирование деталей из листового металла» —...
Листогиб, листогибочный станок своими руками, м...
Изделия из листового металла 2024 | ВКонтакте
Сегментный листогиб на базе РГ 1,4м Steel Stora...
Сегментный листогиб | Листогиб, Металлообработк...
Обработка листового металла - Услуги металлообр...
Листогиб сегментный в 2024 г | Листогиб, Металл...
кровельный листорез механизм / фабрика, металло...
Мини-погрузчик Профессионал ПМ-1000
Лист металлический, в наличии. Цена: 50₽ в Уссу...
листогиб: 13 тыс изображений найдено в Яндекс.К...
Купить лист металла в Минске | цены на листовой...
Листовой металл
Создание детали из листового металла - YouTube
Чертежи для изготовления самоделок своими рукам...
Модель самодельного листогиба | Metal bending t...
Б/у листогибы. Товары и услуги компании "ООО "К...
Механический сборщик | LP. MINECRAFT HARDROCK |...