Что должна обеспечивать колонная головка скважи...
Крышка для скважины
Оголовок для скважины своими руками СТРОИМ ДЛЯ ...
Оголовок для скважины — устройство, виды и прав...
Оголовок для скважины пластиковый Ø125х32 мм Ук...
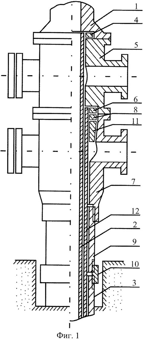
Назначение и конструкция колонных головок
Оголовок для скважины д. 125 - Бипласт
Оголовок для скважины своими руками - YouTube
Оголовок для скважины Ø140х32 мм пластиковый, г...
Как установить оголовок на скважину? Как надеть...
Оголовок для скважины. Монтаж. - YouTube
Оголовок для скважины
Головка цементировочная с вращением силовым вер...
Купить колонные головки скважины — Эффективное ...
Оголовок скважинный наружный купить в Минске
Конструкция скважины. (Часть 2) - презентация о...
Особенности монтажа оголовка на скважину, его в...
Оголовок для скважины 133, 125 мм. Монтаж оголовка
Оголовок для скважины - YouTube
⛲️ Обустройство скважины на воду под ключ в Мос...
Установка скважинного оголовка | Оголовок на ск...