Трактор Т40 - описание, технические характерист...
Трактор Т-40 - ID132745 - Tractor.bg
Подшипники качения, устанавливаемые на тракторы...
Болт маховика трактора Т-40 (М14х40мм) (Д144-10...
Купить комплект подшипников на КПП Т-40 (Д-144)
Трактор Т-40, Т-40А. Техническое обслуживание п...
Запчастини Т-40 — двигун, коробка передач, галь...
Авто продажа Трактор т-40 1986 года выпуска в О...
T-40
Продажа Трактор Т-40 АМ 1988 года Луцк - автоба...
Регулировка сцепления Т 40, устройство и особен...
Маточина т40 - купити недорого оптом на Prom.ua...
Подшипник выжимной ВОМ Т-40 — купить в городе Е...
Т40 Двигател Д144 за Трактор Т40 на части в Сел...
Т-40 в Івано-Франківській області від компанії ...
Трактор Т-40: устройство механизмов, выполняемы...
Трактор Т-40, Т-40А. Техническое обслуживание к...
Палец маховика Т-40 Д-144 - Д30-1005317-А1 купи...
Гидроцилиндр т 40 задней навески
Купити механізм т-40 задньої навіски від ТРАКТО...
Эксплуатация И Ремонт Т-40 - studentprogrammy
Руководство по ремонту Т-40М Модели с дизельным...
Т 40 Ам Трактор Разборка Сборка Двигател - mate...
Каталог запчастин Т-40 Польща купити | Ціна на ...
Т-40: Купить Дополнительное оборудование!
T-40 rezerves daļas – Lapa 2 – Agrotehnika
Трактор Т40 Трактор | Трактори, механизация, ин...
Колесные тракторы Т-40 и Т-40А и их модификации...
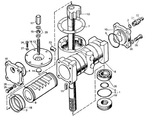
Коробка Т-40 передач — шестерні, вал, підшипник...
Комплект переобладнання рульового управління Т-...
Відводка вижимного підшипника T-40 купити | Цін...
Купити міст т-40 передній від ТРАКТОР-АГРО.КОМ ...